Hozon Metal  Products Co.,Ltd

Hozon Metal Products Co.,Ltd

进入中文版 ENGLISH
Products Category
Contact Us

Name: Mike
Mobile: 15952690049
E-mail: sale@hozonmetal.com
Add: DAINAN INDUSTRIAL PARK TAIZHOU CITY, JIANGSU P.R
QQ: 1596831327
QQ: 1596831327

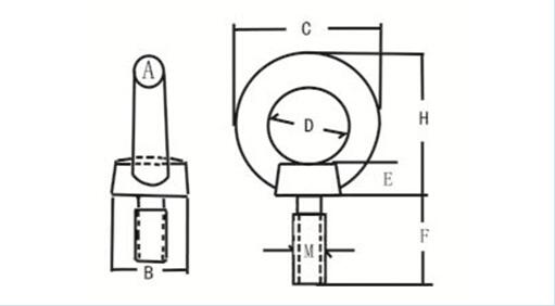
Din 580 Eye Bolt

Din 580 Eye Bolt
Product name : Din 580 Eye Bolt
Item : HOZON-047
Details :
 

[Next : HOZON-046]→
Related Products :
Eye Terminal Thread
HOZON-045
Eye Terminal Thread
Toggle Bolt
HOZON-046
Toggle Bolt

在线 服务

Skype: 点击这里给我发消息